Volvo S60, S80, V70N (00-08), XC70 (00-08), XC90 (03-14) relaterade ämnen OBS! vid motorproblem försök att ange vad du har för motor i bilen...

Moderator: Moderatorer

#1221617
Det verkar finnas en del andra som råkat ut för exakt samma fel. Hittar flera trådar när jag söker men tyvärr ingen som berättar vad felet visade sig vara.

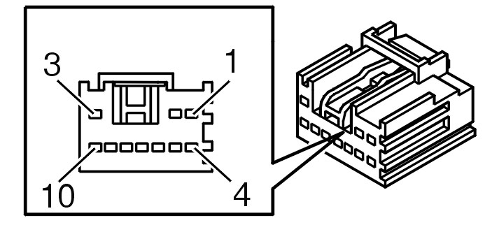
Om jag vore i dina kläder skulle jag plocka ur DIM, lossa dess kontaktstycke och sedan mäta upp. Du kan troligen göra detta med batteriet urkopplat eftersom jag vill minnas att det är en rent mekanisk kontakt på handbromsspaken som jordar dess signalledning. Hur stiften i kontaktstycket är numrerade framgår av bilden nedan. Mät först resistansen mellan stift 9 (handbromsen) och lämplig jordpunkt i bilen. Resistansen bör vara oändlig när handbromsen är ur och nära noll när den är åtdragen. Gör sedan om samma mätning på stift 2 (miljölampan). Om resistansen även där växlar mellan oändlig med handbromsen ur och nära noll när den är åtdragen är det kabelfel någonstans på vägen upp till DIM. Om däremot stift 2 uppför sig på annat sätt än stift 9 med handbroms ur och i sitter felet istället inne i DIM. Det är då reparation eller byte av DIM som gäller.
DIM kontaktstycke.jpg
DIM kontaktstycke.jpg (61.75 KiB) Visad 341 gånger
#1223346
andersuw skrev:Det verkar finnas en del andra som råkat ut för exakt samma fel. Hittar flera trådar när jag söker men tyvärr ingen som berättar vad felet visade sig vara.

Om jag vore i dina kläder skulle jag plocka ur DIM, lossa dess kontaktstycke och sedan mäta upp. Du kan troligen göra detta med batteriet urkopplat eftersom jag vill minnas att det är en rent mekanisk kontakt på handbromsspaken som jordar dess signalledning. Hur stiften i kontaktstycket är numrerade framgår av bilden nedan. Mät först resistansen mellan stift 9 (handbromsen) och lämplig jordpunkt i bilen. Resistansen bör vara oändlig när handbromsen är ur och nära noll när den är åtdragen. Gör sedan om samma mätning på stift 2 (miljölampan). Om resistansen även där växlar mellan oändlig med handbromsen ur och nära noll när den är åtdragen är det kabelfel någonstans på vägen upp till DIM. Om däremot stift 2 uppför sig på annat sätt än stift 9 med handbroms ur och i sitter felet istället inne i DIM. Det är då reparation eller byte av DIM som gäller.
DIM kontaktstycke.jpg
Tack för den beskrivningen!

Ska kolla när jag har tid att plocka bort DIM. Gissar på tisdag/onsdag.

Skickat från min VKY-L29 via Tapatalk
#1522687
Gammal tråd men jag provar ändå.
Det är så att jag har samma fel på min S60 2006, försöker hitta svar på vad det kan vara för fel.

Så om det är någon som löst problemet, och är villig att dela med sig av lösningen skulle kanske vara till hjälp för mig.

.. ska ta och rengöra någon dag fram&[…]

Den stora annons-tråden

Har aldrig tidigare hört talas om en pick-up […]

Volvo appen

Var precis i kontakt med Kundsupport via chatten[…]

Är ingen ström kopplat till den, den &ar[…]