- ons 22 apr 2009, 12:41
#281744
Hejsan
Har sökt i forumet men hittar inget direkt svar på min fråga.
Kan ju vara jag som inte kan söka men...
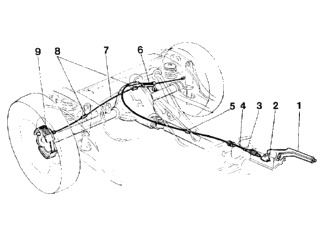
Jag har problem med handbromsen, häromdagen slutade den fungera, det finns motstånd när jag drar den så högt det går och när jag sänker handaget som om wiren går igenom hylsan och något händer i andra änden men jag kan rulla bilen utan problem i alla lägen.
Började titta på delar och upptäckte att det i en tabell står "ej multilink".
Antar att det då finns ett system som heter multilink och att det finns ett som inte är det.
Fråga ett. Vad är multilink och hur vet jag om jag har det eller ej?
Bland Feltemas/Pryltemas delar finns en reparationssats för handbromslänk för 700-900 serien, ej multilink, verkar dock som om den utgått.
Någon tipsade om att ett fäste på bakaxeln kan ge sig, är det möjligen det som denna repsats fixar?
Vem har i så fall något liknande eftersom den inte verkar finnas på Biltema längre?
Vill gärna ha en bra handbroms eftersom grabbarna förväntar sig viss övningskörning i denna bil...
/MK
Har sökt i forumet men hittar inget direkt svar på min fråga.
Kan ju vara jag som inte kan söka men...
Jag har problem med handbromsen, häromdagen slutade den fungera, det finns motstånd när jag drar den så högt det går och när jag sänker handaget som om wiren går igenom hylsan och något händer i andra änden men jag kan rulla bilen utan problem i alla lägen.
Började titta på delar och upptäckte att det i en tabell står "ej multilink".
Antar att det då finns ett system som heter multilink och att det finns ett som inte är det.
Fråga ett. Vad är multilink och hur vet jag om jag har det eller ej?
Bland Feltemas/Pryltemas delar finns en reparationssats för handbromslänk för 700-900 serien, ej multilink, verkar dock som om den utgått.
Någon tipsade om att ett fäste på bakaxeln kan ge sig, är det möjligen det som denna repsats fixar?
Vem har i så fall något liknande eftersom den inte verkar finnas på Biltema längre?
Vill gärna ha en bra handbroms eftersom grabbarna förväntar sig viss övningskörning i denna bil...
/MK
Körde 745GLT, 8 krökta ventiler, skaffade 745GL, körde den i 5 år och sålde den för samma peng. Ford Galaxy i 4 år, nu S80 -01

- By berrabus