Volvo 240 & 260, 340 & 360 samt 440, 460 & 480 relaterade ämnen OBS! vid motorproblem försök att ange vad du har för motor i bilen...

Moderator: Moderatorer

av yrrol
#1278720
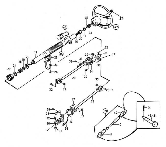
styr.jpg
styr.jpg (30.71 KiB) Visad 856 gånger
Någon som vet om det går att köpa nr 19 och 20 på bifogad bild som sitter i ändarna av rattaxelröret,??
Användarvisningsbild
av lennarte
#1279048
Borde väl finnas på skroten i alla fall
Användarvisningsbild
av lennarte
#1279579
Har du fel ratt? 18 och 23 är fjädrar som ska se till att det är rätt "tryck" på lagren. Har du då, av någon anledning, något som inte överensstämmer med original får du "kompensera" med längre eller kortare fjäder bakom ratten. Det kan säkert vara något annat också, det brukar det vara..... :-/
Volvo appen

Var precis i kontakt med Kundsupport via chatte[…]

Vet inte om en B4 har det där lilla stöd[…]

Byta ac rem på Volvo 940

Detta kanske hjälper dig: https://www.jagrull[…]

Serviceintervall Volvo v60 2013

Hej, Är det någon med tillgång[…]